找回密碼
 註冊
查看: 706|回覆: 1

[手機資訊] 【轉載】Apple 又搶專利了:這次是先拍照後對焦

  [複製鏈接]
簽到
290

544

主題

8694

回帖

100

積分

初級會員

量小非君子,無度不丈夫。

積分
100

百萬富翁勳章萬千寵愛勳章論譠元老勳章高級元老勳章超級元老勳章傑出成就勳章「友誼大使」勳章141紳士勳章成家立室勳章

發表於 2013-11-27 22:00:24 | 顯示全部樓層 |閱讀模式
1.jpg

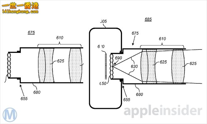
美國專利和商標局本週二公佈了一項 Apple 申請的名為“包含可以重新對焦成像模式適配器的數碼相機”,專利中描述了一種使用微鏡頭適配器在照片拍攝後可以重新對焦的相機系統,這種技術很像是Lytro光場相機。此外,專利中描述的系統可以集成在像iPhone這樣的便攜性設備上。
斯坦福大學計算機科學系畢業生Ren Ng成立的Lytro相機可能是最出名的光場相機了,這款產品得到了很多投資人的青睞。 Apple 已故聯合創始人喬布斯也對這項技術非常感興趣,並邀請Ng來到Palo Alto的家中做客。Ng還親自為喬布斯演示了Lytro光場相機。
CMOS或CCD傳感器前,這樣可以形成光線感應器。根據鏡頭的光圈,微鏡頭可以讓光線通過特定和可預測的方式穿過傳感器。 Apple 在專利中提到,每個微透鏡對應於一組固定的成像像素。光線信息被記錄後,軟件可以用於圖像的對焦和在對焦。
與Lytro不同的是, Apple 設計採用了在鏡頭元素和成像傳感器之間的可流動適配器。適配器上配備了微鏡頭矩陣,這意味著相機可以在兩種模式下使用:高像素不可重新對焦和低像素可重新對焦。Lytro的微鏡頭組件可以調整與傳感器之間的距離,但是​​不能從光線路徑中移除。
在低像素可重新對焦模式下,光學組件位於鏡頭和傳感器之間,創造光線傳感器。專利中提到傳感器可以從微鏡頭上記錄廣信數據以及角度信息。在高像素不可重新對焦模式下,可切換的光學組件流動到不同的位置,這樣玻璃面板可以位於鏡頭和成像傳感器之間。光線被玻璃面板重新定向至傳感器上,就像正常相機那樣。在某些例子中,專利中提到的硬件包含了類似智能手機的功能,比如通話或者連接至無線網絡。
目前,還不知道 Apple 是否會在未來的iPhone中配備這種技術,這種技術可以解決小尺寸相機平台遇到的各種問題。也許這種技術最有趣的就是應用在視頻拍攝中。可重新對焦的視頻片段對於小屏設備來說非常重要,因為對焦可能比較困難。這項專利的遞交是案件為2011年,發明人為John Norvold Border和Richard D. Young。

415

主題

1萬

回帖

16萬

積分

究極元老

積分
160634

小遊戲王勳章四台股神勳章百萬富翁勳章萬千寵愛勳章141榮譽勳章論譠元老勳章高級元老勳章超級元老勳章究極元老勳章「雙子座」勳章傑出成就勳章「友誼大使」勳章「體育精神」勳章「潮流時尚」勳章「賭神」勳章千億富豪勳章

發表於 2013-12-3 00:26:47 | 顯示全部樓層
放心!還有偉大的祖國架倆....
回覆 讚好 不讚 使用道具

舉報

您需要登錄後才可以回帖 登錄 | 註冊

本版積分規則

Archiver|聯絡我們|141華人社區

GMT+8, 2026-4-14 00:23

Powered by Discuz! X3.5

© 2001-2026 Discuz! Team.

快速回覆 返回頂部 返回列表