找回密碼
 註冊
查看: 672|回覆: 9

[手機資訊] Apple 新專利:用iPhone遙控各種電器

  [複製鏈接]
簽到
1343

590

主題

1761

回帖

1萬

積分

超級元老

積分
15393

百萬富翁勳章論譠元老勳章高級元老勳章傑出成就勳章超級元老勳章

發表於 2012-7-30 13:26:35 | 顯示全部樓層 |閱讀模式
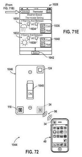
新曝光的一項 Apple 專利申請顯示, Apple 將嘗試使用統一的控製器,例如iPhone,來控制其他多個設備。

  專利申請顯示:“控制信息可通過可控電子設備的近場通信接口獲取,或通過與可控電子設備相關聯的射頻標籤獲取。”利用iPhone掃瞄二維碼也可以使電子設備配對,從而提供控制功能。

   Apple 表示,可通過iPhone控制的其他設備包括遊戲主機、視頻攝錄機、DVD播放器、電視、投影儀、光開關、家用安全系統和車庫大門等。iPhone可以使用天氣應用協助調節恆溫器至合適的溫度,或幫助用戶控制鏡頭變焦、調整其他設置,以及拍攝照片。

  這並非首次有傳聞稱,下一代iPhone中將引入近場通信芯片。近期曝光的iPhone 5原型機顯示,近場通信功能可以與 Apple 的Passbook服務共同使用。

   Apple 還申請了另一項專利,使用近場通信功能提供“禮品”服務,幫助用戶通過播放列表分享iTunes文件。
ti2.jpg
利用NFC技術,iPhone有望變身“萬能遙控器”
ti1.jpg
iPhone還可以與遊戲手柄互動
tiCA008LQK.jpg
iPhone與卡片機互傳數據

544

主題

8694

回帖

100

積分

初級會員

量小非君子,無度不丈夫。

積分
100

百萬富翁勳章萬千寵愛勳章論譠元老勳章高級元老勳章超級元老勳章傑出成就勳章「友誼大使」勳章141紳士勳章成家立室勳章

發表於 2012-7-30 14:13:06 | 顯示全部樓層
正呀

最正係佢終於都肯申請專利啦
回覆 讚好 不讚 使用道具

舉報

241

主題

5萬

回帖

100

積分

初級會員

積分
100

百萬富翁勳章千億富豪勳章萬千寵愛勳章141榮譽勳章論譠元老勳章高級元老勳章超級元老勳章究極元老勳章「友誼大使」勳章「博學多才」勳章「體育精神」勳章「性愛專家」勳章「陽光田園」勳章「車迷天地」勳章群組紀念勳章勝利勳章141紳士勳章

發表於 2012-7-30 15:54:39 | 顯示全部樓層
雞虫大支 發表於 2012-7-30 14:13
正呀

最正係佢終於都肯申請專利啦

會唔會比人入侵部電話, 之後玩你屋企D電器架 ?
回覆 讚好 不讚 使用道具

舉報

544

主題

8694

回帖

100

積分

初級會員

量小非君子,無度不丈夫。

積分
100

百萬富翁勳章萬千寵愛勳章論譠元老勳章高級元老勳章超級元老勳章傑出成就勳章「友誼大使」勳章141紳士勳章成家立室勳章

發表於 2012-7-30 18:39:03 | 顯示全部樓層
張家輝 發表於 2012-7-30 15:54
會唔會比人入侵部電話, 之後玩你屋企D電器架 ?

如果驚既,只要唔jb你部iPhone都幾難有人hack到你部機

如果咁都hack到,你都無計架啦,事關連hackers高手雲集既Apple都唔夠佢鬥既話,唯有認命啦-.-
回覆 讚好 不讚 使用道具

舉報

35

主題

739

回帖

3881

積分

論壇元老

積分
3881
發表於 2012-7-30 23:25:34 | 顯示全部樓層
要搖控全屋傢電咪要全部換晒有 NFC 功能, 好重皮
回覆 讚好 不讚 使用道具

舉報

241

主題

5萬

回帖

100

積分

初級會員

積分
100

百萬富翁勳章千億富豪勳章萬千寵愛勳章141榮譽勳章論譠元老勳章高級元老勳章超級元老勳章究極元老勳章「友誼大使」勳章「博學多才」勳章「體育精神」勳章「性愛專家」勳章「陽光田園」勳章「車迷天地」勳章群組紀念勳章勝利勳章141紳士勳章

發表於 2012-7-31 10:35:31 | 顯示全部樓層
雞虫大支 發表於 2012-7-30 18:39
如果驚既,只要唔jb你部iPhone都幾難有人hack到你部機

如果咁都hack到,你都無計架啦,事關連hackers高 ...

哦~ 總之關鍵都係首先唔好jb部機啦~
回覆 讚好 不讚 使用道具

舉報

241

主題

5萬

回帖

100

積分

初級會員

積分
100

百萬富翁勳章千億富豪勳章萬千寵愛勳章141榮譽勳章論譠元老勳章高級元老勳章超級元老勳章究極元老勳章「友誼大使」勳章「博學多才」勳章「體育精神」勳章「性愛專家」勳章「陽光田園」勳章「車迷天地」勳章群組紀念勳章勝利勳章141紳士勳章

發表於 2012-7-31 10:38:06 | 顯示全部樓層
amzyn 發表於 2012-7-30 23:25
要搖控全屋傢電咪要全部換晒有 NFC 功能, 好重皮

重點出擊囉~ 比我就換落個冷氣度先, 就黎番到屋企前開定冷氣~ 不過記住出門前要關定窗~
回覆 讚好 不讚 使用道具

舉報

0

主題

25

回帖

63

積分

初級會員

積分
63
發表於 2012-8-1 01:18:30 | 顯示全部樓層
NFC 要又近先用倒喎.
回覆 讚好 不讚 使用道具

舉報

60

主題

3629

回帖

6732

積分

高級元老

積分
6732

「友誼大使」勳章百萬富翁勳章

發表於 2012-8-1 07:57:45 | 顯示全部樓層
it work fine, but too costy la.
回覆 讚好 不讚 使用道具

舉報

1

主題

1528

回帖

100

積分

初級會員

積分
100

論譠元老勳章

發表於 2012-8-1 08:47:06 | 顯示全部樓層
Thanks for your report!
I think apple want to eat all electric machines'  market!
回覆 讚好 不讚 使用道具

舉報

您需要登錄後才可以回帖 登錄 | 註冊

本版積分規則

Archiver|聯絡我們|141華人社區

GMT+8, 2026-4-28 19:08

Powered by Discuz! X3.5

© 2001-2026 Discuz! Team.

快速回覆 返回頂部 返回列表